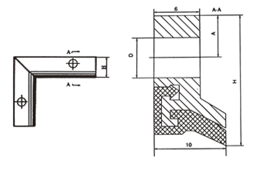
機(jī)床導(dǎo)軌刮屑板